電磁閥
24DHS二位四通

產品工作原理和用途:
二位四通電磁閥是零起動直式電磁滑閥。在工作系統(tǒng)中,電磁鐵接受電信號,使推動閥芯換向,改變介質流通方向,電信號消失后,閥芯靠彈簧自動復位,達到自動控制的目的,并帶有電動裝置。特別適合于鋼鐵、鑄造、 排污等環(huán)境條件惡劣的工作場所。
產品結構特點:
1、此閥門結構簡單、動作可靠、維修方便、密封性能好、耐振、壽命長等優(yōu)點
2、電磁滑閥可任意位置安裝
3、二位四通電磁閥是安裝在氣動,液動執(zhí)行機構上配套使用
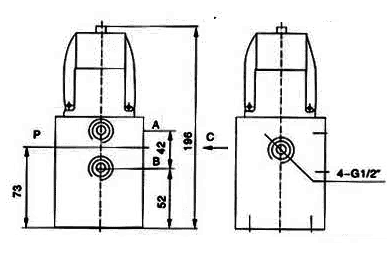
產品性能參數:

公稱通徑 | 15MM | 介質溫度 | ≤60℃(不凍結) |
公稱壓力 | 1.6MPa | 工作壽命 | 60萬天 |
工作壓力 | 0~1.0MPa | 電源電壓 | AC220V DC24V |
流通介質 | 水液、空氣、油等無腐蝕性液體 | 消耗功率 | 20W左右 |
- 上一篇: ZCZP中溫電磁閥
- 下一篇:沒有了!






